Our demand for more powerful camera tech is causing issues; however, Canon is apparently working hard to combat the phenomenon of camera overheating.
Since the advent of high-resolution video and insanely powerful sensors and image processors, camera manufacturers have been trying to find ways to keep their cameras cool. Canon has faced the most significant media backlash in recent years. However, Canon isn’t the only company that has had to deal with overheating camera tech. Remember all the problems Sony had with their earlier cameras? It was so bad that even stills would cause overheating. Overheating still plagues some of their newer cameras in certain environments.
Still, the Canon EOS R5 (read our review of the camera here) is likely the camera that comes to mind regarding overheating. What’s the one thing you remember from the initial reviews about that camera? The 45-megapixel sensor? The ergonomics? The insanely good Dual Pixel II autofocus system? The overall camera tech? No. Chances are, what you remember reading about are the horror and doom stories about the cameras’ tendency to overheat while recording video.
Overheating solutions
Granted, the Canon EOS R5 issue was blown out of proportion by reviewers doing stress tests. It’s highly unlikely that any creator would be using their cameras in the ways reviewers were stressing the cameras. Still, it shed some bad light on the camera. Unfortunately, the Canon EOS R5 and the camera tech employed became the butt of many jokes.
Since then, camera manufacturers have tried to combat overheating problems. In the a1 (you can read our review here), Sony used a new heat pipe design to keep the camera cool. Panasonic uses fans in cameras like the Lumix S1H and the Lumix GH6 (see our full review here) to keep its camera tech cool. Fujifilm recently released an attachable $200 cooling fan that clips onto the back of the X-H2S.
However, these fans and clip-on solutions add a lot of bulk and weight to the cameras, which is not ideal. Fortunately, manufacturers are continuing their camera tech R&D. If a new patent is anything to go by, Canon might have found a novel solution to the heat problem.
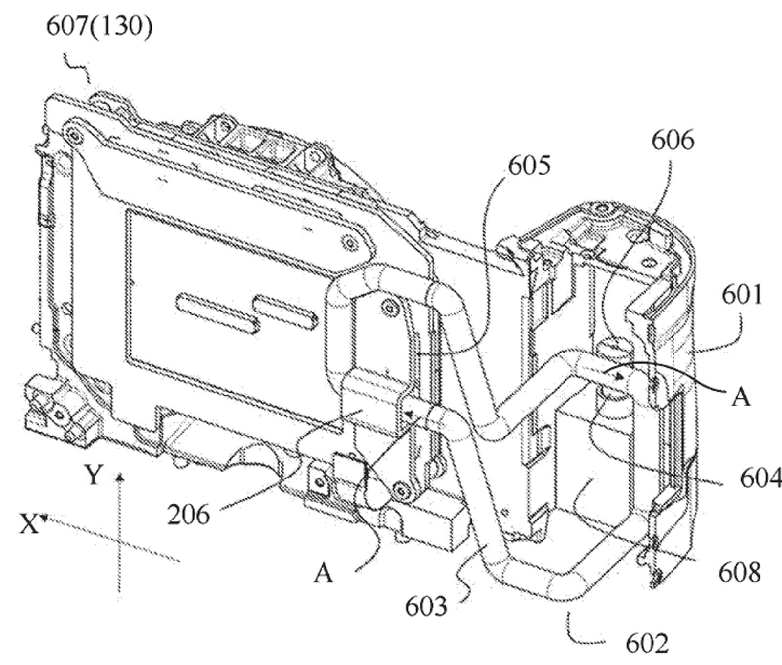
Magnets could keep camera tech cool
A recent post on Camera Rumors shares images from a Canon patent (initially discovered by Northlight Images). The patent shows a new camera tech cooling solution that’s powered by magnets. The magnets would pump the cooling solution around the sensor, image processor, RAM and other components through a conductive plate and then through copper heatsinks, which would whisk away and dissipate the heat. This system would essentially work in the same way PC water cooling does.
Why use a complicated solution to cool camera tech when fans would probably suffice? Well, seeing as overheating issues tend to arise when cameras are used to record 4K, 6K and 8K video footage, the last thing a creator would want is a microphone picking up noise from a cooling fan. A magnetic system like this would be silent and likely more energy efficient than a fan.
Whether or not Canon can get a system like this to work is another thing entirely. One thing I can see happening, though, is cameras getting heavier due to so much copper and other cooling components needing to be used to help dissipate heat.
This extra weight will remove one of the key reasons people wanted to switch to mirrorless cameras in the first place, which was less weight when compared to DSLRs. However, this is an issue that needs to be solved. With cameras on the upward trajectory when it comes to heat generation, the sooner the problem is overcome, the better.
Have you ever had issues with cameras overheating? How did you deal with the problem? Let us know in the comment section below.














My R5 overheats in hot weather, especially when I shoot many shots in succession, or in burst mode. It takes awhile, but the overheat warning shows. I then switch cameras.